学校为了保证我们中小学全校师生的学习、生活能够有序的进行,老师、学生能够专心上课;学校特实行全校教师轮流值周制度;学生日常管理工作是提高教育、教学质量,建设安全、文明学校的基础工作。

管理员能够对评比项目、评分细则、文明班、值周周长等信息进行设置,系统根据设置情况自动核算评比项目总分,管理员可查看每学年每学期以及每周的文明班详细情况。设置值周周长名单,以及每个周长的管辖范围,方便后续的管理工作。校长可以统计全校的各个班级在不同项目上校园文明管理活动中的得分状况。

学校管理者可以获得不同角度和不同方法的分析结果。班主任可以对所带领班级的德育状况进行纵向分析,可以很方便的查看到本班级在年级中所在的位置,并可深度挖掘本班中存在的问题,从而提高学生的综合素质。
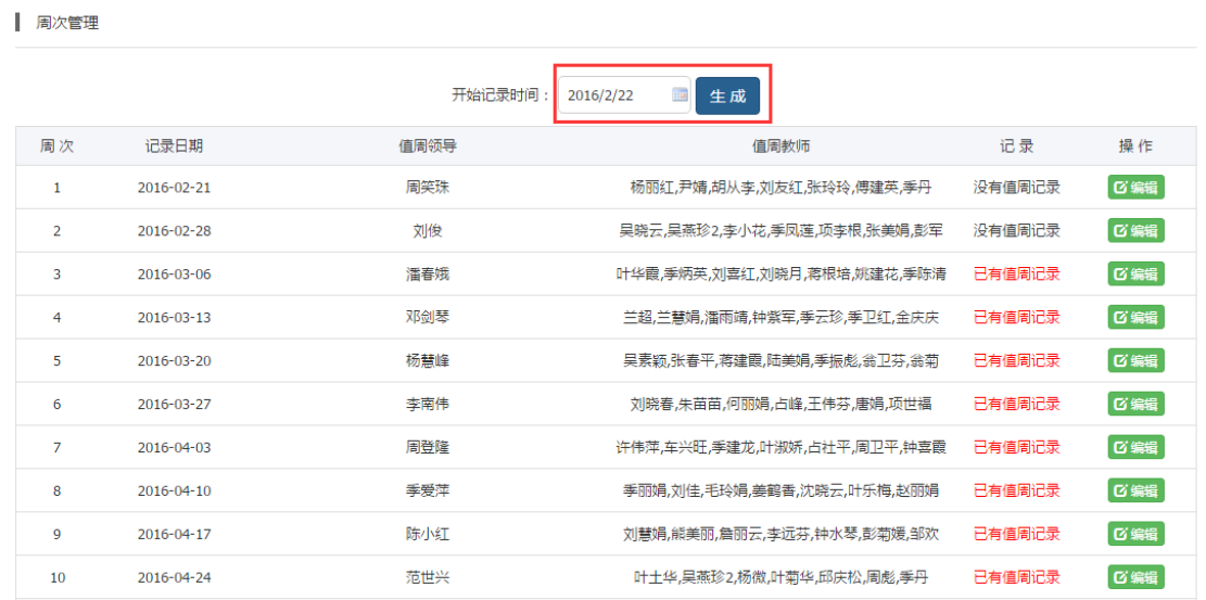
周次管理”,在每学期开学初,设置值周的开始时间。
点击“值周登记”填写每一周的值周情况,需要填写当前值周的日期,选择值周领导,选择值周老师,选择哪个班级、填写值周班级中各个值周项目的扣分分值或者增加分值等选项。